A Read More

2 Ruote7 Gennaio 2021

Aprilia ha svelato la nuova Tuono 660: peso, potenza e caratteristiche

Mostrata in anteprima mondiale sulle pagine web ufficiale dell’Aprilia, l’attesissima Tuono 660 porta nelle media cilindrate la famiglia Tuono. Figlia dell’acclamata Tuono V4 1100, la nuova Tuono […]

D Read More

2 Ruote16 Dicembre 2020

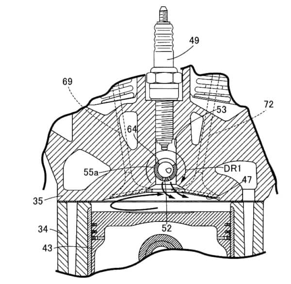
Dalla F1 alle moto stradali, Honda brevetta la propria iniezione a precamera

Sta diventando sempre più difficile produrre motori stradali aspirati che superino le ultime leggi sulle emissioni, pur mantenendo potenze superiori ai 200 cv/l. Per farlo Honda […]

M Read More

2 Ruote14 Dicembre 2020

Moto Guzzi ha presentato la nuova V7 850, primo passo per il centenario

Moto Guzzi ha presentato la nuova V7, che vanta ora il motore bicilindrico da 850 cc della V85 TT opportunamente rivisto in termini di potenza massima ed erogazione. La […]

M Read More

2 Ruote10 Dicembre 2020

MV Agusta svela la Superveloce Alpine, potenza ed eleganza senza tempo

L’annuncio della collaborazione tra MV Agusta e Alpine, propiziata dalla passione per meccanica e design che accomuna entrambi i marchi, risale a pochi giorni fa ed oggi ne […]

D Read More

2 Ruote2 Dicembre 2020

Ducati rivoluziona il Monster sposando la filosofia Stunt

Il nuovo Monster è realtà. Per il 2021 l’icona di Borgo Panigale abbandona il traliccio, ma resta fedele al Desmodromico, e si distacca nettamente dal passato […]

N Read More

2 Ruote19 Novembre 2020

Nuova BMW S 1000 R per il 2021: nuovo look, meno chili e col Flex Frame

BMW Motorrad ha svelato la nuova S 1000 R, completamente rinnovata nella meccanica, nella ciclistica e nel design. Rispetto alla serie precedente la roadster dinamica […]

D Read More

2 Ruote18 Novembre 2020

Ducati evolve l’elettronica della famiglia Panigale V4 e lancia la V4 SP

La famiglia Panigale V4 si rinnova, grazie ad un pacchetto elettronico evoluto ed alla nuova conformità all’Euro 5, e amplia col lancio della V4 SP, […]

T Read More

2 Ruote30 Ottobre 2020

Triumph ha presentato la Trident 660, una moderna roadster da passeggio

Triumph ha presentato ufficialmente la Trident 660, con cui la casa inglese ha deciso di lanciarsi nel segmento delle roadster medie. Disponibile anche nella variante […]

B Read More

2 Ruote23 Ottobre 2020

BMW dona alle R nineT un boxer tutto nuovo ed Euro5 per il 2021

Per il 2021 BMW Motorrad ha affinato in modo sostenibile la famiglia R nineT con alcune modifiche tecniche, oltre a una significativa estensione della gamma […]

D Read More

2 Ruote23 Ottobre 2020

Ducati aggiorna la Streetfighter V4 per il 2021: Euro 5 e versione Dark Stealth

Per il 2021 Ducati presenta lo Streetfighter V4 S nella nuova colorazione Dark Stealth, che si affianca al classico rosso. Inoltre, tutti i modelli della gamma […]